下一篇:掌握風速和風量對立磨機的作用
早在二十年代德國研制出第一臺立磨機的時候,它就以其獨特的粉磨原理克服了球磨機粉磨機理的諸多缺陷。但是由于中國工業化起步較晚,所以在立磨機的性能研究上面也晚于西方國家,某些國產立磨機依舊存在不足之處!
1、立磨機的飽磨問題
立磨機的飽磨主要是由以下幾方面的原因造成的:①喂料量太大;②排風量太少;③選粉機故障。一旦磨機發生飽磨現象,電機將處于過載運行狀態,所以必須設置保護裝置,以免燒壞電機。某些國產立磨機沒有飽磨保護裝置。對此問題同力重機建議可以采取了下面的保護措施:在磨腔側開一測壓孔,測量磨內的負壓,根據磨腔內負壓與物料多少成一定比例關系的原理,將此負壓通過一個YSH—1型霍爾微壓變送器轉換成毫伏信號,再將此信號輸入到一個XCT—123型的顯示調節儀中,當磨內負壓達到上限設定值(此值由實際測取,磨機型號不同此值不同)時,顯示調節儀中的繼電器接點動作,發出報警信號,提醒操作工減少喂料量。如果負壓繼續超過設定值延時60秒后,控制喂料器停止喂料,待磨內負壓低于設定值時,喂料器又重新開始正常喂料。其原理如圖1所示。

2、 立磨機的起動
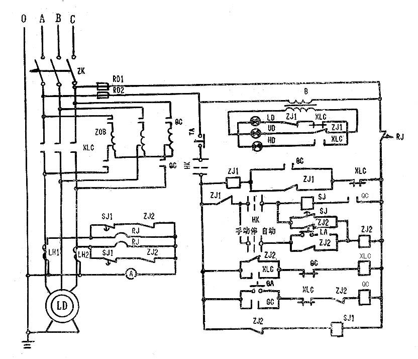
立磨機在起動時,有時也會發生過負荷起動,這是因磨內殘余物料所致。某些國產立磨機的起動一般都采用XJ01系列的自耦減壓起動器,電源進線開關一般也選用HZ系列刀開關。因而電機一旦出現過負載起動,保護裝置顯得不完善,容易引起越級跳閘。為了解決這個問題,同力重機將開關改為DZ10型的自動空氣開關,其電磁脫扣器的額定電流按電機額定電流Ie整定,脫扣器的動作電流按4Ie整定,瞬時脫扣器按8Ie整定。一旦起動過程出現過負荷起動,自動空氣開關動作。其次,采用自耦變壓器起動的磨機,當用自動方式進行起動時,由于種種原因有時中間繼電器ZJ2不動作,致使起動過程不能切換到全壓運行方式上來,這樣往往容易燒壞自耦變壓器。對于這種現象我們對原線路作了一些改進。改進后線路如圖2所示,電路工作原理如下:
將組合開關置于自動方式位置,按下QA,QC吸合并自鎖,SJ得電,同時ZJ1得電自鎖,待到整定時間后SJ1的常開延時接點閉合,ZJ2得電動作,此時XLC得電動作,整個起動過程完成。ZJ1、ZJ2、SJ均斷電,只有XLC、SJ1通電。這樣既防止了電動機直接起動的可能,同時又延長了中間繼電器的壽命,并且ZJ1、ZJ2、SJ在全壓運行時,不再消耗能量。尤其是在起動中,如果由于種種原因ZJ2不動作,那么SJ1得電,SJ1串于電流互感器保護回路中的常閉延時接點在延遲一定時間(此時間大于SJ的整定時間)后斷開,熱繼電器RJ起過流保護作用。這樣與進線空氣開關形成對過電流起動的雙重保護。

在某些國產磨機的自動控制方面,還缺乏諸如喂料裝置阻塞不能報警及延時停機,有時由于喂料顆粒太大或物料中夾雜有金屬物造成的震動過大不能報警并停機,減速箱齒輪油溫太高或油位過低不能報警等方面的不足,所以必須采取一定措施,使磨機的運行更安全、可靠。
可見,某些國產立磨機還需要在技術和性能上加強研究和完善,早日將我國的立磨機推向世界,打造出世界知名的中國立磨機品牌。
下一篇:掌握風速和風量對立磨機的作用
版權所有?:浙江同力重型機械制造有限公司 浙ICP備11047279號-2

浙公網安備 33048302000399號